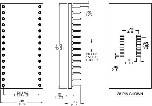
- ADAPTER BODY: FR-4, 0.062 [1.58] thick, with 1-oz. Cu traces
- PINS: Brass 360 1/2-hard per UNS C36000, ASTM B16/B16M
- PIN PLATING: 200µ [5.08µ] Sn/Pb 93/7 per ASTM B579-73 over 100µ [2.54µ] Ni per SAE AMS-QQ-N-290B
- CURRENT RATING: 1 amp
- OPERATING TEMPERATURE: 221°F [105°C]

